皇冠信用网登3出租_今麦郎手打挂面的“手打”系商标,多个官方旗舰店已停售,客服回应:进行品牌升级而下架
正版皇冠信用网出租(www.hg01.vip)-开会_员出_租平_台)皇冠信用网/—开会员账号—(招登1登2登3管理(代理出租)近日,今麦郎因“手打”商标问题引发公众热议皇冠信用网登3出租。4月1日,今麦郎集团董事长范现国通过视频正式回应此事,宣布将全面停用“手打”商标,并于4月2日起将停止生产任何带有“手打”商标的产品。2日,新黄河记者查询淘宝、京东等平台的今麦郎官方旗舰店发现,相关“手打挂面”商品已检索不到,商家也明确表示“手打挂面因公司主动停用‘手打’商标,进行品牌升级而下架”。
日前,有消费者指出在购买今麦郎“手打挂面”后,发现该产品实际上是流水线工业化生产,并非手工制作,相关话题在网上发布后迅速引起了轩然大波皇冠信用网登3出租。针对此次争议,4月1日,今麦郎集团董事长范现国发布视频作出回应,他表示,“手打”商标是在2006年注册,至今已使用20年,为了避免今后再给消费者带来产品表述上的误解与困扰,今麦郎正式决定,从4月2日凌晨起,立即停止使用“手打”商标。



展开全文
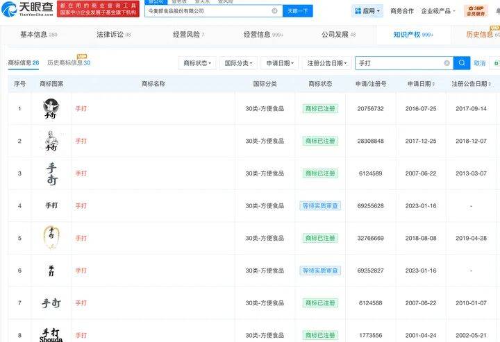
天眼查知识产权信息显示,2001年至2018年,今麦郎食品股份有限公司注册了多个“手打”字样的商标,均属于方便食品系列皇冠信用网登3出租。涉事“手打挂面”所用商标专用权期限为2020年1月7日至2030年1月6日。此外,商标信息显示今麦郎食品股份有限公司“手打”“手打面”“手打鲜粉”等商标曾被驳回,国际分类均为方便食品。

对于今麦郎的此次回应,网友态度莫衷一是皇冠信用网登3出租。一部分网友持认可、褒奖态度,认为今麦郎知错就改、回应迅速,并且针对问题迅速做出企业整改,值得肯定。但也有一部分网友认为今麦郎明知“手打”一词容易误导消费者,却仍然使用该商标长达20年,借助文字游戏模糊产品工艺,利用商标漏洞打擦边球,涉嫌欺骗消费者。

值得注意的是,今麦郎“手打挂面”事件并非个例皇冠信用网登3出租。此前,千禾0添加酱油的“千禾0”、农家土鸡蛋的“农家土”“壹号土猪”的“壹号土”以及“潘婷三分钟奇迹护发素”的“潘婷三分钟奇迹”等,均存在利用描述性词汇注册成商标的操作。这些商标套路往往相似,都是利用商标来模糊商品的真实属性,给消费者带来了消费误导。
此次今麦郎“手打”商标事件,无疑再次给行业敲响了诚信经营的警钟皇冠信用网登3出租。
(新黄河客户端记者韩明霞 实习生谭贻允)
猜你喜欢
- 2026-04-22皇冠信用网押金多少_“拔钉侠”越火 城市管理者越该脸红丨豫观察
- 2026-04-21皇冠信用网登3代理_一个多月内,青岛两名市委常委相继落马
- 2026-04-21皇冠welcome注册账号_突发!伊朗宣布开放霍尔木兹海峡,美伊冲突就这样结束了?
- 2026-04-20皇冠信用网APP下载_“女子产后半月被男友起诉返还彩礼”引热议 律师解读彩礼返还比例、嫁妆退还等焦点
- 2026-04-20皇冠信用网如何注册_伊朗对浓缩铀最新表态
- 2026-04-19体育皇冠信用网_不给以色列偷袭机会,巴基斯坦出动20架歼-10,全程护送伊朗代表团回国!
- 2026-04-18正版皇冠信用网址_伊朗再次封锁霍尔木兹海峡 两艘油轮被击中
- 2026-04-18皇冠信用网申请_面对美国提出“开放领空”的要求,印尼两大部门闹起内讧,中方划下红线!
- 2026-04-15世界杯代理拿盘 _陕西一女子买10瓶五粮液,8瓶被官方鉴定为假,商家称是“职业打假人”拒绝赔偿
- 2026-04-13正版皇冠信用网代理_特朗普:美国海军将拦截所有向伊朗支付通行费的船只,同时“摧毁”伊朗人在霍尔木兹海峡布设的水雷!原油暗盘应声大涨5%
- 2026-04-12如何代理皇冠信用网_亲人突然离世,19岁女孩回家奔丧买错车票,发现时车票已售罄崩溃大哭,民警6分钟协调开通绿色通道送她回家
- 2026-04-12皇冠球盘app_NBA|西部座次基本排定,湖人季后赛再遇火箭


网友评论